



Yüksek Hassasiyetli Tork Sensörleri
Norbar, yüksek kalite ve hassasiyette tork sensörü (torque transducer) üreten belli başlı firmalardan biridir. Norbar tork sensörleri dünyanın pek çok ülkesinde, büyük kapasiteli tork kalibrasyon merkezlerinde kullanılmaktadır. Norbar tork sensörleri BS7882:2008 standartına göre N.m, Lbf.ft, Lbf.in, Ozf.in birimleri cinsinden kalibre edilmektedir.
Uluslararası kalibrasyon standartlarına göre tork sensörünün ölçüm başlangıç noktası maksimum kapasitesinin %10’nuna eşdeğer olmalıdır. Maksimum kapasitesi 100 N.m olan bir sensörün ölçüm aralığı 10 N.m den başlaması gerekir. Ayrıca ± %0,5 hassasiyet yanlızca tork sensörünün kapasitesinin %20 ile %100 arasındaki ölçümler için geçerlidir. Kapasitenin % 0… ile %10 arasındaki ölçüm hassasiyeti daha düşüktür.

| Genel Teknik Özellikler |
- Ölçüm hassasiyeti ± 0,5% Class 1
- Çalışma ortam sıcaklığı : - 10°C - +50°C
- Depolama ortam sıcaklığı - 20°C - +70°C
- Isının torsiyona etkisi : ± 0,03%°C
- Isının sıfır değerine etkisi : ± 0,01%°C
|
- Burkulma sapması : < 1°
- Malzeme yorgunluğu : > 10 exp 7 döngü
- Burkulma kapasitesi max :%150
- Kablo bağlantısı :6 damarlı soket
- Sürücüler :Dişi/Erkek kare – Erkek/Erkek kare
|
BS7882:2008 standartına göre;
- 5.000 N.m’ye kadar hassasiyet ± %0,5 . Class 1.
- Maksimum kapasitenin %20 ile %100 arasındaki ölçümler için geçerlidir.
- 5.000 ile 100.000 N.m arasındaki hassasiyet ±%0,5 - ±%2,5 arasında değişir.
- BS7882:2008 standardına göre bu değer Class 1 ile Class 5 arasında sınıflandırılır.
- Tork sensör şaftları, yüksek kalite çelikten mamul ve ısıl işlem görmüşlerdir.
- Norbar sensörleri burkulma harici kuvvetleri devre dışı bırakan tasarıma sahiptir.
- Her iki yöne de (saat yönü & saatin ters yönü) çalışacak şekilde üretilmişlerdir.
- Norbar tork sensörleri UKAS akrediteli kalibrasyon sertifikası ile sevk edilir.
- Saat yönü kalibrasyon hizmetleri standart, aksi yön opsiyonel olarak sunulur.
- Smart tip sensörlerde kimlik bilgilerini (smart data) saklayan bir çip bulunur.
- Norbar test cihazları bu çip sayesinde sensörleri otomatik olarak tanır.
- Tork sensörleri farklı marka cihazlarla, farklı imalatlarla da kullanılabilir.



N.m ölçü biriminde kalibre edilmiş Norbar Smart Statik Tork Sensörleri
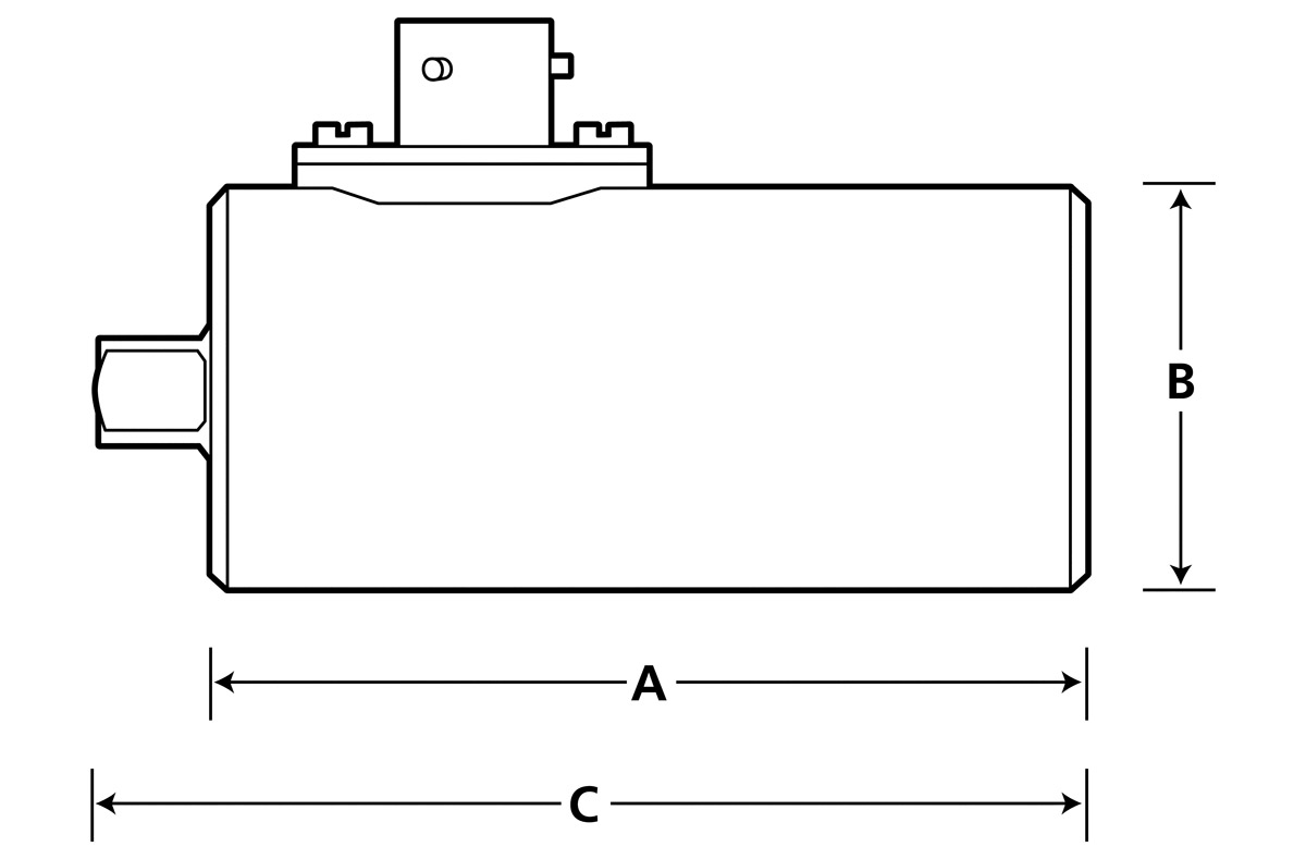
| Ürün Kodu |
Ölçüm Aralığı |
Hassasiyet |
Kare Sürücü |
Ölçüler (mm) |
Burkulma |
Ağırlık |
| # |
Nm |
% |
inç |
A |
B |
C |
Kap. (max) |
Kg |
| 50587.LOG |
0,0 -1.0 |
± % 0,5 |
¼" m/f |
79 |
36,5 |
86 |
150% |
0,45 |
| 50588.LOG |
0,25 - 2,5 |
± % 0,5 |
¼" m/f |
79 |
36,5 |
86 |
150% |
0,45 |
| 50589.LOG |
0,5 - 5.0 |
± % 0,5 |
¼" m/f |
79 |
36,5 |
86 |
150% |
0,45 |
| 50590.LOG |
1.0 - 10 |
± % 0,5 |
¼" m/f |
79 |
36,5 |
86 |
150% |
0,45 |
| 50591.LOG |
2,5 - 25 |
± % 0,5 |
3/8" m/f |
79 |
36,5 |
89,5 |
150% |
0,45 |
| 50592.LOG |
5.0 - 50 |
± % 0,5 |
3/8" m/f |
79 |
36,5 |
89,5 |
150% |
0,45 |
| 50593.LOG |
10 - 100 |
± % 0,5 |
½" m/f |
79 |
36,5 |
92,8 |
150% |
0,46 |
| 50594.LOG |
25 - 250 |
± % 0,5 |
½" m/f |
79 |
36,5 |
92,8 |
150% |
0,46 |
| 50701.LOG |
25 - 250 |
± % 0,5 |
3/4" m/f |
118 |
54 |
141 |
150% |
1,5 |
| 50596.LOG |
50 - 500 |
± % 0,5 |
3/4" m/f |
118 |
54 |
141 |
150% |
1,5 |
| 50772.LOG |
100 - 1000 |
± % 0,5 |
1" m/f |
118 |
54 |
146 |
150% |
1,6 |
| 50766.LOG |
150 - 1500 |
± % 0,5 |
1" m/f |
118 |
54 |
146 |
150% |
1,6 |
| 50703.LOG |
250 - 2500 |
± % 0,5 |
1½" m/f |
117 |
95 |
160 |
150% |
4,6 |
| 50791.LOG |
300 - 3000 |
± % 0,5 |
1½" m/f |
117 |
95 |
160 |
150% |
4,6 |
| 50599.LOG |
500 - 5.000 |
± % 0,5 |
1½" m/f |
117 |
95 |
160 |
150% |
4,6 |
| 50669.LOG |
700 - 7.000 |
± % 0,5 |
1½" m/f |
117 |
95 |
160 |
150% |
4,6 |
| 50601.LOG * |
1.000 - 10.000 |
± % 0,5 |
2½" m/m |
68,5 |
110 |
200 |
150% |
9,2 |
| 50776.LOG |
1.000 - 10.000 |
± % 0,5 |
2½" m/f |
145,5 |
130 |
209 |
150% |
9,2 |
| 50603.LOG |
2.500 - 25.000 |
± % 0,5 |
2½" m/m |
68,5 |
110 |
200 |
150% |
9 |
| 50797.LOG |
2.500 - 25.000 |
± % 0,5 |
2½" m/f |
145,5 |
130 |
209 |
150% |
9,5 |
| 50781.LOG |
5.000 - 50.000 |
± % 0,5 |
2½" m/f |
145,5 |
130 |
209 |
150% |
9,5 |
| 50794.LOG * |
5.000 - 50.000 |
± % 0,5 |
3½" m/m |
73,5 |
165 |
271 |
150% |
16,3 |
| 50783.LOG |
8.000 - 80.000 |
± % 0,5 |
3½" m/f |
205 |
160 |
291,5 |
150% |
16,5 |
| 50796.LOG |
10.000 - 100.000 |
± % 0,5 |
3½" m/f |
98 |
165 |
271 |
150% |
16,5 |
| * TST ve TTT için uygun olmayan modellerdir. |
Lbf.ft ölçü biriminde kalibre edilmiş Norbar Smart Statik Tork Sensörleri
| Ürün Kodu |
Ölçüm Aralığı |
Hassasiyet |
Kare Sürücü |
Ölçüler (mm) |
Burkulma |
Ağırlık |
| # |
Lbf.ft |
% |
inç |
A |
B |
C |
Kap. (max) |
Kg |
| 50661.LOG |
0,0 - 1.0 |
± % 0,5 |
¼" m/f |
79 |
36,5 |
86 |
150% |
0,45 |
| 50613.LOG |
0,25 - 2,5 |
± % 0,5 |
¼" m/f |
79 |
36,5 |
86 |
150% |
0,45 |
| 50615.LOG |
0,5 - 5.0 |
± % 0,5 |
¼" m/f |
79 |
36,5 |
86 |
150% |
0,45 |
| 50618.LOG |
1.0 - 10 |
± % 0,5 |
¼" m/f |
79 |
36,5 |
86,4 |
150% |
0,45 |
| 50620.LOG |
2,5 - 25 |
± % 0,5 |
3/8" m/f |
79 |
36,5 |
89,5 |
150% |
0,45 |
| 50622.LOG |
5.0 - 50 |
± % 0,5 |
3/8" m/f |
79 |
36,5 |
89,5 |
150% |
0,45 |
| 50624.LOG |
10 - 100 |
± % 0,5 |
½" m/f |
79 |
36,5 |
92,8 |
150% |
0,46 |
| 50625.LOG |
25 - 250 |
± % 0,5 |
½" m/f |
79 |
36,5 |
92,8 |
150% |
0,46 |
| 50702.LOG |
25 - 250 |
± % 0,5 |
3/4" m/f |
118 |
54 |
141 |
150% |
1,5 |
| 50627.LOG |
50 - 500 |
± % 0,5 |
3/4" m/f |
118 |
54 |
141 |
150% |
1,5 |
| 50773.LOG |
100 - 1000 |
± % 0,5 |
1" m/f |
118 |
54 |
146 |
150% |
1,6 |
| 50704.LOG |
250 - 2500 |
± % 0,5 |
1½" m/f |
117 |
95 |
160 |
150% |
4,6 |
| 50630.LOG |
500 - 5.000 |
± % 0,5 |
1½" m/f |
117 |
95 |
160 |
150% |
4,6 |
| 50633.LOG * |
1.000 - 10.000 |
± % 0,5 |
2½" m/m |
68,5 |
110 |
200 |
150% |
9,2 |
| 50777.LOG |
1.000 - 10.000 |
± % 0,5 |
2½" m/f |
145,5 |
130 |
209 |
150% |
9,2 |
| 50635.LOG |
2.500 - 25.000 |
± % 0,5 |
2½" m/m |
68,5 |
110 |
200 |
150% |
9 |
| 50798.LOG |
2.500 - 25.000 |
± % 0,5 |
2½" m/f |
145,5 |
130 |
209 |
150% |
9,5 |
| 50799.LOG |
3.000 - 30.000 |
± % 0,5 |
2½" m/f |
145,5 |
130 |
209 |
150% |
9,5 |
| 50795.LOG * |
5.000 - 50.000 |
± % 0,5 |
3½" m/m |
98 |
165 |
271 |
150% |
16,3 |
| 50782.LOG * |
6.000 - 60.000 |
± % 0,5 |
3½" m/f |
205 |
160 |
291,5 |
150% |
16,3 |
| 50637.LOG |
10.000 - 100.000 |
± % 0,5 |
3½" m/m |
98 |
165 |
271 |
150% |
16,5 |
Lbf.in ölçü biriminde kalibre edilmiş Norbar Smart Statik Tork Sensörleri
| Ürün Kodu |
Ölçüm Aralığı |
Hassasiyet |
Kare Sürücü |
Ölçüler (mm) |
Burkulma |
Ağırlık |
| # |
Lbf.in |
% |
inç |
A |
B |
C |
Kap. (max) |
Kg |
| 50610.LOG |
1.0 - 10 |
± % 0,5 |
¼" m/f |
79 |
36,5 |
86 |
150% |
0,45 |
| 50612.LOG |
2,5 - 25 |
± % 0,5 |
¼" m/f |
79 |
36,5 |
86 |
150% |
0,45 |
| 50614.LOG |
5.0 - 50 |
± % 0,5 |
¼" m/f |
79 |
36,5 |
86 |
150% |
0,45 |
| 50617.LOG |
10 - 100 |
± % 0,5 |
¼" m/f |
79 |
36,5 |
86 |
150% |
0,46 |
| 50619.LOG |
25 - 250 |
± % 0,5 |
3/8" m/f |
79 |
36,5 |
89,5 |
150% |
0,46 |
| 50621.LOG |
50 - 500 |
± % 0,5 |
3/8" m/f |
79 |
36,5 |
89,5 |
150% |
1,5 |
| 50623.LOG |
100 - 1000 |
± % 0,5 |
½" m/f |
79 |
36,5 |
92,8 |
150% |
1,6 |